AmeriGlobe

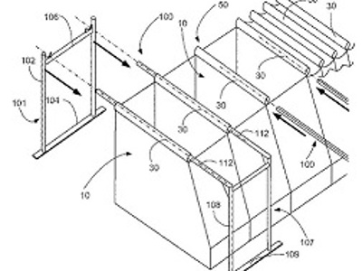
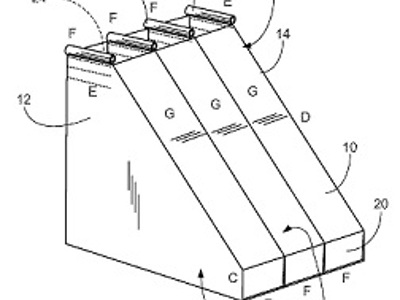
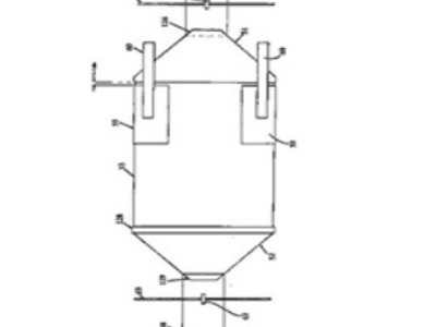
Patents

Elevating Bulk Bag Solutions for Over 35 Years

AmeriGlobe is your trusted partner for innovative bulk bag solutions.


At AmeriGlobe, we don't just give you a great price, we give you solutions to your bulk bag issues. With more than 35 years in the bulk bag industry and more than 100 years of sales and solutions experience in the field, AmeriGlobe is ready to solve your problems.

If you are not maximizing your containers or trucks, having issues with wood pallets, worried about landfill or reuse issues, having bulk bag filling problems, or any other problems, AmeriGlobe stands ready to work with you and your company to come up with a cost effective solution for your bulk bag needs.

AmeriGlobe logo

AmeriGlobe is not a bulk bag broker that offers no support. We are the largest bulk bag manufacturer in the United States. Our combination of US production and managed overseas production gives you safe, competitive pricing, while we work with you to show huge freight cost and system based savings.