AmeriGlobe

Standard Bulk Bags

Standard Bulk Bags - AmeriGlobe - Photo 1
Ameriglobe Manufactures UN/DOT Approved, Conductive, and Static-Dissipative Bags

Standard Bulk Bags

Standard Bulk Bags - The Classics

AmeriGlobe manufactures all of the standard bulk bag types such as U-panel, Modular, 4-panel and Baffle bags.

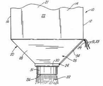
Modular Bag

This bulk bag style gives you a great combination of strength and price. Our modular bulk bags can be used in conjunction with any of our patented features such as the Load ‘n’ Lock Top® and the ‘Perma’ Liner® to increase packaging efficiencies. You also get the handling benefits of our stand open lift loops. The base sizes of this circular woven bulk bag are designed to maximize the amount of product you can put in a truck or container. AmeriGlobe has UN/DOT approved versions of this bulk bag.

U-panel

This bulk bag style has more flexible sizing to meet any size requirement. The U-Panel bulk bag also features a high maximum safe working load and specific designs geared towards ruggedness. AmeriGlobe has UN/DOT approved versions of this bulk bag. In addition to standard applications, AmeriGlobe uses this bag style for all of its static-dissipative and groundable bulk bags.

Baffle Bags

The Baffle bag eliminates the slumping and round-out of more conventional packaging. As a result, you can maximize container space for overseas container payloads by eliminating unused space for the most profitable packing possible. Our patented baffle bag design allows easier filling and discharging. The special pattern gives the product easier access to the corners of the bulk bag. By filling this extra space you can effectively lower your shipping costs by as much as 25%.

What Makes Our Bags Better?

Non-stop problem-solving! We work hard to reduce the impact of the issues that affect your opertional efficiency and your bottom line.

View All Patents

Standard Bulk Bags

While we at Ameriglobe focus on innovation and bulk bag improvement, we still provide the tried and true standard bulk bags you have used over and over again.

AmeriGlobe logo

AmeriGlobe is not a bulk bag broker that offers no support. We are the largest bulk bag manufacturer in the United States. Our combination of US production and managed overseas production gives you safe, competitive pricing, while we work with you to show huge freight cost and system based savings.