AmeriGlobe

MegaBase™

MegaBase™ - AmeriGlobe - Photo 1
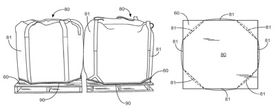
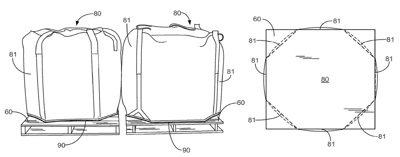
MegaBase® Bags Utilize the Full Bag, to the Corners, Which Saves Money
MegaBase™ - AmeriGlobe - Photo 2
MegaBase® Bags Are Easily Stackable
MegaBase™ - AmeriGlobe - Photo 3
The Proof is in the Numbers

MegaBase™

The Baffle Bag Alternative

The MegaBase® bag lowers your packaging cost by increasing both the stability and the usable package volume. The greater stability allows your company to reduce its packaging spend by replacing expensive baffle bags.

View Brochure

Baffling Costs More

Baffle bags (also known as Gambo bags or Q-Bags) derive their stability from expensive internal baffling. This can add as much as 30% to the cost of the bag. Despite the added costs, the baffles actually make the baffle bag more difficult to fill. The product can only flow to the corners of the bag through the baffles. Since there are only a few openings in the baffles, the product cannot readily flow to the corners. This is exacerbated since the corners are farther away from the fill spout than the sides. Even if there were no baffles the corners would have a lower product level than the sides. This creates wasted space and therefore wasted money.

Reduced Contamination & Sifting

Since MegaBase® bags do not have baffles, they do not have the added potential for contamination of sewing to attach the baffles. All of this extra sewing also increases the potential for sifting. The lack of baffles in the MegaBase® bag allows you to protect your product from contamination and sifting with an inexpensive liner.

Stability at a Lower Cost

Baffle bags use a combination of a larger base and internal baffles to help stabilize the bag. The MegaBase® bag has a similar footprint as standard baffle bags giving them similar base stability. In many cases this creates the needed stability. The baffles help to hold the sides of the bags in place. With the MegaBase® bag we move the edges of the bottom out nearer to the diameter of the bag. This leaves less of the body of the bag unsupported.

Any way you look at it, the MegaBase® bag is more cost effective than baffle bags. Reduced cost, reduced contaminations, reduced sifting and easier filling are some of the reasons you should contact us today to try the MegaBase® bag for yourself.

What Makes Our Bags Better?

Non-stop problem-solving! We work hard to reduce the impact of the issues that affect your opertional efficiency and your bottom line.

View All Patents

MegaBase® Bags

Any way you look at it, the MegaBase® bag is more cost effective than baffle bags. Reduced cost, reduced contaminations, reduced sifting and easier filling are some of the reasons you should contact us today to try the MegaBase® bag for yourself.

AmeriGlobe logo

AmeriGlobe is not a bulk bag broker that offers no support. We are the largest bulk bag manufacturer in the United States. Our combination of US production and managed overseas production gives you safe, competitive pricing, while we work with you to show huge freight cost and system based savings.