AmeriGlobe

US9085866B2: FLOOD WALL PROTECTION SYSTEM

{{si.b.sn photo 1}}
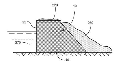
A flood wall system and method of constructing same, includ­ing providing a first main panel section; attaching sleeves to each side of a main panel prior to configuring the final cham­ber; providing two sleeves of fabric at the upper opening of each chamber for supporting the chambers while the cham­bers are being filled with materials such as sane; providing a series of chambers sewn together to define a continuous cel­lular wall; the final chamber having a horizontal height which is two feet (0.6 m) longer than the vertical height further having a front toe portion one feet (0.3 m) in height; filling each chamber with a quantity of the material, such as sand, to fill each chamber; on each end of a completed chain of chambers, further comprising a set ofloops or ties so that a chain of chambers is capable of being tied to other chains of chambers to define the continuous flood wall system.

Bags