AmeriGlobe

US9175451B2: FLOOD WALL PROTECTION SYSTEM

{{si.b.sn photo 1}}
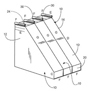
A system and method for constructing any desired length of height linear cellular chain for use as a protective wall system, including a chain of fabric bulk bags, each having an open upper end, and interconnected along their sidewalls to define the cellular chain; and a fabric channel formed on the upper ends of each of the adjoining bags sidewalls for engaging a bag support and filling system, which includes a first metal frame member having a pair of arm members for threading through two adjacent fabric channels; the frame supported by a base member resting on the ground; a second metal frame member for receiving the distal ends of each of the arm members of the first metal frame member, at a level so that the bulk bag is supported by the arm members; bulk material to be poured into the supported bulk bag, to a level that the bag is substantially filled and no longer requires the support of the frame, so that the frame can be removed and positioned onto the next pair of fabric channels to fill the next empty bag.

Bags